BMW Motorrad desenvolve banco inteligente e ajustável: pedido de patente já foi registrado
Se você é apaixonado por motociclismo, prepare-se para uma novidade que promete revolucionar a sua experiência de pilotagem. A BMW Motorrad acaba de registrar patente para um banco inteligente e ajustável em suas motos.
Essa tecnologia promete proporcionar mais conforto e segurança para os pilotos, além de tornar a pilotagem ainda mais prazerosa. Ficou curioso? Então continue lendo e descubra tudo sobre essa inovação da BMW Motorrad.
Guia do Conteúdo
BMW Motorrad entra com pedido de patente para banco inteligente!
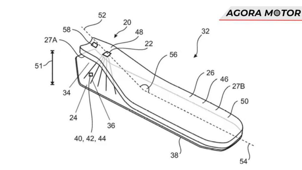
A BMW Motorrad acaba de registrar um pedido de patente para o desenvolvimento de um banco inteligente e ajustável que será utilizado nos próximos modelos de motos da marca. O assento terá opções de ajuste elétrico e eletrônico, permitindo alterações na largura e em diversos fatores relacionados à ergonomia e conforto, dependendo da altura do piloto e da situação de pilotagem.

Segundo informações da imprensa estrangeira, os pedidos de patente detalham várias abordagens técnicas que envolvem o uso de motores elétricos para ajustar as almofadas do banco em pontos decisivos, como a transição frontal para o tanque de gasolina.
Além disso, a BMW também está trabalhando em um banco hidráulico ou eletropneumático que pode ser rapidamente transformado por meio de dutos de ar ou fluidos e câmaras dentro das almofadas.
Como funciona o banco inteligente?
O banco inteligente da BMW Motorrad utiliza motores elétricos para ajustar as almofadas do banco em pontos decisivos, permitindo alterações na largura e em diversos fatores relacionados à ergonomia e conforto, dependendo da altura do piloto e da situação de pilotagem.
Além disso, a marca está trabalhando em um banco hidráulico ou eletropneumático que pode ser rapidamente transformado por meio de dutos de ar ou fluidos e câmaras dentro das almofadas.
Quais são as vantagens do banco inteligente?
O banco inteligente da BMW Motorrad oferece diversas vantagens, como a possibilidade de ajustar automaticamente o banco durante a condução.

Por exemplo, a inflação na área dianteira pode fornecer suporte para o motociclista durante a frenagem, enquanto na área traseira pode oferecer auxílio durante a aceleração. Além disso, é possível que a função de massagem seja incorporada a este assento inteligente.
Quando os modelos com o banco inteligente estarão disponíveis?
Ainda não há informações precisas sobre quando os modelos de produção da BMW Motorrad com o banco inteligente serão lançados. No entanto, é interessante ver as possibilidades que a tecnologia está trazendo para o mundo das duas rodas.
Quais são as expectativas dos pilotos em relação ao banco inteligente?
Os pilotos aguardam ansiosamente para experimentar este novo nível de conforto oferecido pelo banco inteligente da BMW Motorrad. Com a possibilidade de ajustes automáticos durante a condução, espera-se que a experiência de pilotagem seja ainda mais confortável e segura.
Deixe a sua opinião sobre essa notícia logo abaixo, e aproveite para acessar o nosso portal Agora Motor! Ficando assim por dentro de tudo o que acontece dentro do mundo automobilístico. Veja notícias, artigos, novidades, lançamentos, Tabela FIPE e muito mais em um só lugar!
